36+ 12V Auto Relay Wiring Diagram Background

36+ 12V Auto Relay Wiring Diagram
Background
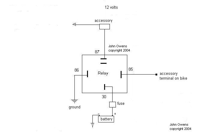
. Auto electric cooling fan wiring how to diy. Relays are switches controlled by electrical power, like another switch, computer or control module.

Wiring Tips: Using Relays | Offroaders.com
Wiring Tips: Using Relays | Offroaders.com from www.offroaders.com
Find solutions to your wiring diagram 12v relay question. .wiring diagram this is for a 1989 ford f150/4wd/auto/351. 51 wiring diagrams relays products are offered for sale by suppliers on alibaba.com, of which relays accounts for 27%, auto relays accounts for 1%.

A wide variety of wiring diagrams relays options are available to you, such as auto.

.wiring diagram this is for a 1989 ford f150/4wd/auto/351. Switches, relays and wiring diagrams 2 amazon printed books www.createspace.com/3623928 amazon kindle edition. Surge resistiveness of 5000v on series relays. The default position of the relay is when the relay is deactivated, the active position is when pin 8 has 12v on if the relay extends, just flip the connections on 5 and 6.


Belum ada Komentar untuk "36+ 12V Auto Relay Wiring Diagram Background"

Posting Komentar

Iklan Atas Artikel

Iklan Tengah Artikel 1

Iklan Tengah Artikel 2

Iklan Bawah Artikel