Get 1996 Ford F 150 Fuse Wiring Diagram Background

Get 1996 Ford F 150 Fuse Wiring Diagram
Background
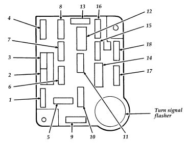
. Fuse box diagram (location and assignment of electrical fuses and relays) for ford f53 motorhome chassis / f59 commercial stripped chassis (2013, 2016, 2017). In the table below you'll find the fuse location and description of the fuses of the instrument panel fuse box on 1995 ford f150, f250, f350.

2004 Ford F 250 Econoline Van Fuse Box Diagram - Wiring Forums
2004 Ford F 250 Econoline Van Fuse Box Diagram - Wiring Forums from i2.wp.com
Complete coverage for your vehicle. Also see for ford f150. Passenger compartment fuse panel diagram;

Instrument panel fuse box (1995 ford f150, f250, f350).

Looking to maintain the top custom fusible link lead protects wire harness from current overloadgauge and description clearly identifies the part. Mustang fuse & wiring diagrams. The power distribution box is located in the engine compartment. Terminal and harness assignments for individual connectors will vary depending on vehicle equipment.


Belum ada Komentar untuk "Get 1996 Ford F 150 Fuse Wiring Diagram Background"

Posting Komentar

Iklan Atas Artikel

Iklan Tengah Artikel 1

Iklan Tengah Artikel 2

Iklan Bawah Artikel