Download 1997 Toyota Tercel Belt Diagram Gif

Download 1997 Toyota Tercel Belt Diagram
Gif
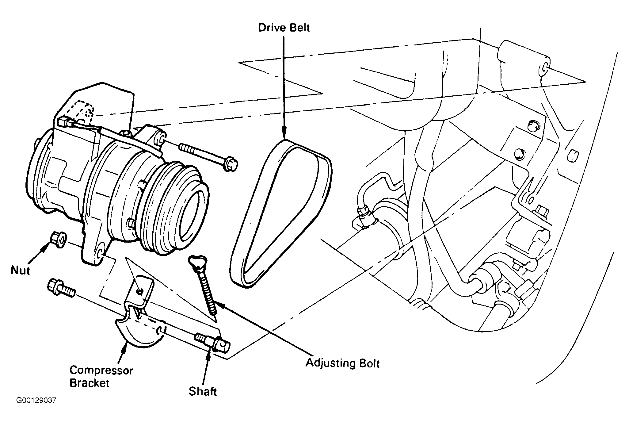
. It can be accessed from the underside of the car after removing the shield under the car. In my toyota tercel model 1998 is located in right part of the engine, next to the windshield.

Timing Belt Kit For 1995-1999 Toyota Tercel 1.5L 4 Cyl GAS ...
Timing Belt Kit For 1995-1999 Toyota Tercel 1.5L 4 Cyl GAS ... from i.ebayimg.com
Toyota paseo & tercel timing belt seals water pump 5efe (fits: These tercel manuals have been provided by our users, so we can't guarantee completeness. 480 x 360 jpeg 21 кб.

29 pages · 2007 · 530 kb · 186 downloads· english.

We offer new, oem and aftermarket toyota auto parts and accessories at discount prices. We're sorry, our experts haven't reviewed this car yet. Alternator belt replacement on 1996 toyota tercel. Prius seat belt warning electric diagram.


Belum ada Komentar untuk "Download 1997 Toyota Tercel Belt Diagram Gif"

Posting Komentar

Iklan Atas Artikel

Iklan Tengah Artikel 1

Iklan Tengah Artikel 2

Iklan Bawah Artikel