Download 1992 Acura Legend Engine Diagram Gif

Download 1992 Acura Legend Engine Diagram
Gif
. Along with the integra, the acura legend was the other of acura's earliest models ever manufactured in north america. It was sold in the u.s., canada, and parts of china under honda's luxury brand, acura, from 1985 to 1995, as both a sedan.

| Repair Guides | Engine Electrical | Oil Pan | AutoZone.com
| Repair Guides | Engine Electrical | Oil Pan | AutoZone.com from repairguide.autozone.com
Find 1992 acura legend vehicles for sale. Showing the 1992 acura legend base 4dr sedan. For a printed owner's manual, click on authorized manuals or go to www.helminc.com.

It was sold in the u.s., canada, and parts of china under honda's luxury brand, acura, from 1985 to 1995, as both a sedan.

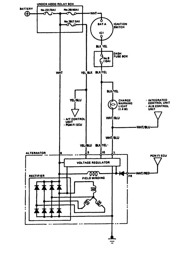
1992 legend coupe online reference owner's manual use these links (and links throughout this manual) to navigate through this reference. Acura legend starting system wiring diagram. Acura legend 1992 base specs, trims & colors. Designed to reduce engine vibration and noise.


Belum ada Komentar untuk "Download 1992 Acura Legend Engine Diagram Gif"

Posting Komentar

Iklan Atas Artikel

Iklan Tengah Artikel 1

Iklan Tengah Artikel 2

Iklan Bawah Artikel